168彩票开奖网,开奖网,彩票软件,彩票走势,彩票数据分析,彩票开奖结果查询,彩票开奖查询,彩票开奖号码,彩票走势图

电话:15837399557

FU拉链机链条

【产品类别】:斗式提升机配件

【 关 键 词】:FU拉链机链条,拉链机链条

【产品简介】:FU拉链机链条是FU拉链输送机上的牵引件,拉链输送机也叫做刮板输送机,常用拉链机链条有FU150 FU200 FU270 FU350等型号,可根据客户要求定制设计。

FU拉链机链条

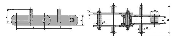
FU拉链机链条是FU拉链输送机上的牵引件,拉链输送机也叫做刮板输送机。和斗式提升机链条有着相似之处,链板为45#钢材质,销轴套筒滚子为40Cr耐磨材质。

FU输送链条每个部件均选用性能优异的材料经过各道先进的热处理工艺加工制作而成,硬度和尺寸均通过全检,合格后采用独特的装配工艺总装成品并通过拉力试验进行强度测试,确保产品优异的抗拉和抗磨损性能,使用寿命长。

常用拉链机链条有FU150 FU200 FU270 FU350等型号,有两边带钩子、带刮板等类型,可根据要求将附板加高加宽或者其他样式定制。

FU拉链机链条尺寸

FU拉链机链条参数尺寸
型号 节距 
(P)
滚子外径
(ФDr)
内节内宽
(LI)
销轴直径
(ΦDp)
销轴长度
(L)
链板厚
(T)
链板宽
(Hp)
链钩高
(H1)
总宽
(B)
链钩直径 
(d1)
载荷(Tmax)
单位:KN
FU150 101.6 26.5 27 11.5 70 6 35 48 130 12 100
FU200 152.4 36 36.5 15.5 90 8 50 65 160 16 230
FU270 152.4 36 36.5 15.5 90 8 50 85 240 16 230
FU350 200 44.5 51.8 19.1 120 10 60 123 320 20 380
FU410 200 44.5 51.8 19.1 120 10 60 148 370 20 380
FU410Q 200 48.5 57.6 22.2 126 10 75 148 370 20 550
FU500 300 63.5 67.4 31.75 150 12 90 180 460 25 750

上一篇:NE斗式提升机链轮

下一篇:带挂钩进料槽

【168彩票开奖网】彩票开奖结果查询_彩票开奖查询_彩票走势图 - www.1688208.com 15837399557 返回顶部
168彩票开奖网